Mongge
  • Ejercicios
  • Colecciones
  • Editor
  • Iniciar sesión
  • Registrarse

UPV EHU Julio 2019 3B

Amorrortu
Amorrortu
10/3/24 
 245
 
Resolución
Solución

UPV EHU Julio 2019 3B

}}}}}}}}}

A2

C2

B2

A1

C1

B1

0/87
  • EAU UPV-EHU Julio 2019 3A
    EAU UPV-EHU Julio 2019 3A
    Amorrortu
    Amorrortu
    8/7/24 
     79
     
  • M. YAssin: Construcció d'una figura trigonometrica
    M. YAssin: Construcció d'una figura trigonometrica
    MYassinel
    MYassinel
    27/1/25 
     25
     
  • PAU_GEOMETRÍA_2016_JUN_1A_LARIOJA (ARCO CAPAZ)
    PAU_GEOMETRÍA_2016_JUN_1A_LARIOJA (ARCO CAPAZ)
    HdezLour
    HdezLour
    30/10/23 
     736
     
  • ....
    ....
    Esteb@n
    Esteb@n
    3/5/13 
     1459
     
  • Selectividad 2021 Ejercicio 2
    Selectividad 2021 Ejercicio 2
    glopher
    glopher
    13/5/24 
     1682
     
  • COMPLETAR EL TRIÁNGULO ABC DEL QUE SE CONOCE EL LADO AB Y LA POSICION DEL ORTOCENTRO.(Selectividad 2006 Junio. Madrid)
    COMPLETAR EL TRIÁNGULO ABC DEL QUE SE CONOCE EL LADO AB Y LA POSICION DEL ORTOCENTRO.(Selectividad 2006 Junio. Madrid)
    DibujoSalamanca
    DibujoSalamanca
    23/11/15 
     8953
     
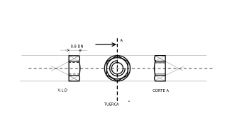
  • CORTES DE PERNO DE CABEZA EXAGONAL
    CORTES DE PERNO DE CABEZA EXAGONAL
    jhordang
    jhordang
    9/4/13 
     1182
     
  • l=60 aldea duen laukia
    l=60 aldea duen laukia
    aanibarro
    aanibarro
    4/11/22 
     177
     
  • Perspectiva isométrica Sept 18
    Perspectiva isométrica Sept 18
    javierCL
    javierCL
    25/5/20 
     1208
     
  • PAU Madrid Junio 2001-02 Ejercicio B2 (Tangencias: resuelto por dilatación contracción de radio)
    PAU Madrid Junio 2001-02 Ejercicio B2 (Tangencias: resuelto por dilatación contracción de radio)
    Jacinman
    Jacinman
    16/6/22 
     333
     
  • 2ºBACH_PIEZA_20_SEP(2)
    2ºBACH_PIEZA_20_SEP(2)
    pepasierra
    pepasierra
    22/12/21 
     524
     
  • Selectividad Navarra 2017, Opción A, Diédrico
    Selectividad Navarra 2017, Opción A, Diédrico
    sanchezandoni
    sanchezandoni
    9/6/17 
     12.932
     
  • Circ. con misma potencia a otras dos circunferencias
    Circ. con misma potencia a otras dos circunferencias
    Jorge_008
    Jorge_008
    19/10/24 
     54
     
  • Inversa de una circunferencia que no pasa por el centro de inversión. Dado el centro de inversión y la circunferencia de autoinv
    Inversa de una circunferencia que no pasa por el centro de inversión. Dado el centro de inversión y la circunferencia de autoinv
    tapiafrancisco
    tapiafrancisco
    16/12/21 
     352
     
  • Lámina 24.2, ejercicio 3
    Lámina 24.2, ejercicio 3
    jjalbaladejo
    jjalbaladejo
    28/8/25 
     26
     
  • Circunferencias tangentes a dos rectas que se cortan y pasan por un punto P
    Circunferencias tangentes a dos rectas que se cortan y pasan por un punto P
    user638729001
    user638729001
    15/10/22 
     231
     
  • Términos y condiciones
  • Política de privacidad
  • Política de cookies
  • Preferencias de consentimientos
Contacto: mongge.contact@gmail.com