ACOTACIÓN 1 Alejandro Melián Lemes
Resolución
Solución
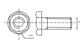
Dibuja las vistas de la pieza dada en Perspectiva Isométrica y acota, obteniendo sus medidas de la pieza.
Dibuja las vistas de la pieza dada en Perspectiva Isométrica y acota, obteniendo sus medidas de la pieza.