Mongge
Ejercicios
Colecciones
Editor
Català
English
Español
Euskera
Italiano
Iniciar sesión
Registrarse
Registrarse
Completar vista lateral derecha
Mongge
25/2/12
13.614
Seguir
Resolución
Solución
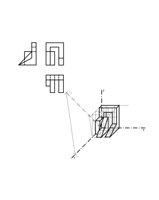
B4.-
Completar la representación diédrica dada con la vista lateral derecha.
URL del ejercicio
Código para embeber